PE / PP / PPS / MANNLOCHDECKEL DN 300 - DN 600


 





TIEFGEZOGENE VARIANTE



• es entfallen kostenintensive Schrauben und Muttern aus Edelstahl
• problemloser Einbau durch eine hohe Passgenauigkeit, variable Stutzenhöhe und glatte, saubere Oberfläche
• Deckel und Griffe sind aus einem Stück tiefgezogen, daher gibt es keine Schweißspannungen im Deckel
• die Revisionsöffnung kann von einer Person bei der Revision geöffnet und geschlossen werden
• je nach Stückzahl auch andere Deckelfarben auf Anfrage möglich
• kurze Lieferzeiten und kostengünstige Alternative zu herkömmlich in der Werkstatt gefertigten Mannlöchern




WERKSTOFFKOMBINATIONEN
MANNLOCHDECKEL DN 300 - DN 600



mit PE / PP / PPs mit/ohne Stutzen,  Deckel aus PE / PP / PPs
mit PE / PP / PPs mit/ohne Stutzen,  Deckel aus PVC U Transparent

Neben dem Standardprogramm sind auch andere Kombinationen auf Anfrage möglich.
Alle Artikel finden Sie auch in unserem Webshop.




 

DECKELVARIANTEN IN PVC-U TRANSPARENT


- passend zu PE, PP, PPs Kragen mit oder ohne Stutzen

Neben dem Standardprogramm sind auch andere Kombinationen auf Anfrage möglich.
Alle Artikel finden Sie auch in unserem Webshop.





TECHNISCHE DATEN


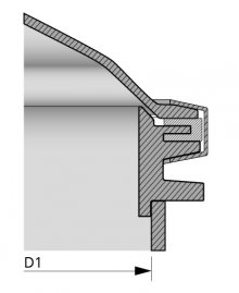
SCHNITTZEICHNUNG










DETAIL A OHNE STUTZEN


 

DETAIL A MIT STUTZEN







DN DN 300 DN 400 DN 500 DN 600 Bitte unbedingt beachten:
- Druckbereich max. - 0.15 bis 0.05 bar.
- nicht geeignet für den seitlichen Einbau unterhalb der Wasserlinie.

* Stutzenlänge Standard 250 mm, andere Stutzenlängen auf Anfrage möglich.

Di 308 408 508 608
Da 347 447 547 647
D1 315 415 515 615
D2 326 426 526 626
H1 36 36 36 36
H2 250* 250* 250* 250*
 


LIEFERPROGRAMM MANNLOCHDECKEL


Tiefgezogene Variante DN 300 - DN 600



Werkstoff Artikelnummern
Ausführung mit Stutzen
Artikelnummern
Ausführung ohne Stutzen




PE
mit PE Stutzen,
Deckel aus PE
mit PE Stutzen, Deckel aus PVC U Transparent ohne PE Stutzen,
Deckel aus PE
ohne PE Stutzen, Deckel aus PVC U Transparent
DN300-PE-PE-M-ST DN300-PE-TR-M-ST DN300-PE-PE-O-ST DN300-PE-TR-O-ST
DN400-PE-PE-M-ST DN400-PE-TR-M-ST DN400-PE-PE-O-ST DN400-PE-TR-O-ST
DN500-PE-PE-M-ST DN500-PE-TR-M-ST DN500-PE-PE-O-ST DN500-PE-TR-O-ST
DN600-PE-PE-M-ST DN600-PE-TR-M-ST DN600-PE-PE-O-ST DN500-PE-TR-O-ST




PP
mit PP Stutzen,
Deckel aus PP
mit PP Stutzen, Deckel aus PVC U Transparent ohne PP Stutzen,
Deckel aus PP
ohne PP Stutzen, Deckel aus PVC U Transparent
DN300-PP-PP-M-ST DN300-PP-TR-M-ST DN300-PP-PP-O-ST DN300-PP-TR-O-ST
DN400-PP-PP-M-ST DN400-PP-TR-M-ST DN400-PP-PP-O-ST DN400-PP-TR-O-ST
DN500-PP-PP-M-ST DN500-PP-TR-M-ST DN500-PP-PP-O-ST DN500-PP-TR-O-ST
DN600-PP-PP-M-ST DN600-PP-TR-M-ST DN600-PP-PP-O-ST DN600-PP-TR-O-ST




PPs
mit PPs Stutzen,
Deckel aus PPs
mit PPs Stutzen, Deckel aus PVC U Transparent ohne PPs Stutzen,
Deckel aus PPs
ohne PP Stutzen, Deckel aus PVC U Transparent
DN300-PPs-PPs-M-ST DN300-PPs-TR-M-ST DN300-PPs-PPs-O-ST DN300-PPs-TR-O-ST
DN400-PPs-PPs-M-ST DN400-PPs-TR-M-ST DN400-PPs-PPs-O-ST DN400-PPs-TR-O-ST
DN500-PPs-PPs-M-ST DN500-PPs-TR-M-ST DN500-PPs-PPs-O-ST DN500-PPs-TR-O-ST
DN600-PPs-PPs-M-ST DN600-PPs-TR-M-ST DN600-PPs-PPs-O-ST DN600-PPs-TR-O-ST
 
Stutzenlängen Standard 250 mm, andere Längen auf Anfrage möglich



MANNLOCHDECKEL AUS GFK

EINBAU UNTERHALB DER WASSERLINIE




 


Für den Einsatz unterhalb der Wasserlinie fertigen wir kostengünstige Mannlochdeckel aus GFK in den Größen bis DN 800 für den Behälterbau. Es entfallen kostenintensive Stahlplatten oder andere aufwendige Konstruktionen. Die Haltegriffe, werden auflaminiert und dienen der Arbeitssicherheit bei der Revision.

Wir legen die Mannlochdeckel entsprechend Ihren Bedürfnissen und Anforderungen aus, senden Sie uns Ihre Anfrage, oder rufen Sie uns direkt an: 0049 2602 999730

Hier geht es zum Lieferprogramm


PE / PP MANNLOCHDECKEL DN 300 - DN 800






 

GESCHRAUBTE VARIANTE


VERSCHIEDENE AUSFÜHRUNGEN



PE / PP Mannlochdeckel aus Plattenmaterial CNC - gefertigt bestehend aus:

- Deckel mit Dichtungsnut
- O-Ring
- Flansch mit oder ohne Kragenansatz
- Kragen
- Schrauben und Muttern aus VA

Die Mannlochdeckel können auch ggf. als Blockflansche verwendet werden.
Andere Ausführungen oder Werkstoffe auf Anfrage möglich.


TECHNISCHE EXPLOSIONSZEICHNUG



LIEFERPROGRAMM PE / PP MANNLOCHDECKEL DN 300 - DN 800


GESCHRAUBTE VARINATEN - CNC GEFERTIGT -



Neben dem u.a. Standrad-Lieferprogramm fertigen wir auch nach Kundenwunsch und Anwendung.
Wir erstellen Ihnen hierzu gerne ein unverbindliches Angebot.



PE/PP Mannlochdeckel ohne Kragen, mit Schrauben, Muttern und U-Schieben aus V2A Artikelnummern
DN LK Ø
in mm
AD Ø
in mm
ID Ø
in mm
Deckel-
dicke
in mm
Flansch-dicke
in mm
Flansch-breite
in mm
Dichtung Ø 
in mm
Schrauben PE mit
Kragenansatz
PE ohne
Kragenansatz
PP mit
Kragenansatz
PP ohne
Kragenansatz
300 368 408 308 15 15 50 6 16 x M8 MAS-DN300-1000 MAS-DN300-2000 MAS-DN300-3000 MAS-DN300-4000
300 368 408 308 15 15 50 6 16 x M10 MAS-DN300-1001 MAS-DN300-2001 MAS-DN300-3001 MAS-DN300-4001
300 368 408 308 15 20 50 6 16 x M8 MAS-DN300-1002 MAS-DN300-2002 MAS-DN300-3002 MAS-DN300-4002
300 368 408 308 15 20 50 6 16 x M10 MAS-DN300-1003 MAS-DN300-2003 MAS-DN300-3003 MAS-DN300-4003
300 368 408 308 20 20 50 6 16 x M8 MAS-DN300-1004 MAS-DN300-2004 MAS-DN300-3004 MAS-DN300-4004
300 368 408 308 20 20 50 6 16 x M10 MAS-DN300-1005 MAS-DN300-2005 MAS-DN300-3005 MAS-DN300-4005
400 468 508 408 15 25 50 6 20 x M8 MAS-DN400-1006 MAS-DN400-2006 MAS-DN400-3006 MAS-DN400-4006
400 468 508 408 15 15 50 6 20 x M10 MAS-DN400-1007 MAS-DN400-2007 MAS-DN400-3007 MAS-DN400-4007
400 468 508 408 15 20 50 6 20 x M8 MAS-DN400-1008 MAS-DN400-2008 MAS-DN400-3008 MAS-DN400-4008
400 468 508 408 15 20 50 6 20 x M10 MAS-DN400-1009 MAS-DN400-2009 MAS-DN400-3009 MAS-DN300-4009
400 468 508 408 20 20 50 6 20 x M8 MAS-DN400-1010 MAS-DN400-2010 MAS-DN400-3010 MAS-DN400-4010
400 468 508 408 20 20 50 6 20 x M10 MAS-DN400-1011 MAS-DN400-2011 MAS-DN400-3011 MAS-DN400-4011
500 568 608 508 15 15 50 6 24 x M8 MAS-DN500-1012 MAS-DN500-2012 MAS-DN500-3012 MAS-DN500-4012
500 568 608 508 15 15 50 6 24 x M10 MAS-DN500-1013 MAS-DN500-2013 MAS-DN500-3013 MAS-DN500-4013
500 568 608 508 15 20 50 6 24 x M8 MAS-DN500-1014 MAS-DN500-2014 MAS-DN500-3014 MAS-DN500-4014
500 568 608   15 20 50 6 24 x M10 MAS-DN500-1015 MAS-DN500-2015 MAS-DN500-3015 MAS-DN500-4015
500 568 608 508 20 20 50 6 24 x M8 MAS-DN500-1016 MAS-DN500-2016 MAS-DN500-3016 MAS-DN500-4016
500 568 608 508 20 20 50 6 24 x M10 MAS-DN500-1017 MAS-DN500-2017 MAS-DN500-3017 MAS-DN500-4017
600 686 708 608 15 15 50 6 32 x M8 MAS-DN600-1018 MAS-DN600-2018 MAS-DN600-3018 MAS-DN600-4018
600 686 708 608 15 15 50 6 32 x M10 MAS-DN600-1019 MAS-DN600-2019 MAS-DN600-3019 MAS-DN600-4019
600 686 708 608 15 20 50 6 32 x M8 MAS-DN600-1020 MAS-DN600-2020 MAS-DN600-3020 MAS-DN600-4020
600 686 708 608 15 20 50 6 32 x M10 MAS-DN600-1021 MAS-DN600-2021 MAS-DN600-3021 MAS-DN600-4021
600 686 708 608 20 20 50 6 32 x M8 MAS-DN600-1022 MAS-DN600-2022 MAS-DN600-3022 MAS-DN600-4022
600 686 708 608 20 20 50 6 32 x M10 MAS-DN600-1023 MAS-DN600-2023 MAS-DN600-3023 MAS-DN600-4023
800 868 908 808 15 15 50 6 42 x M8 MAS-DN800-1024 MAS-DN800-2024 MAS-DN800-3024 MAS-DN800-4024
800 868 908 808 15 15 50 6 42 x M10 MAS-DN800-1025 MAS-DN800-2025 MAS-DN800-3025 MAS-DN800-4025
800 868 908 808 15 20 50 6 42 x M8 MAS-DN800-1026 MAS-DN800-2026 MAS-DN800-3026 MAS-DN800-4026
800 868 908 808 15 20 50 6 42 x M10 MAS-DN800-1027 MAS-DN800-2027 MAS-DN800-3027 MAS-DN800-4027
800 868 908 808 20 20 50 6 42 x M8 MAS-DN800-1028 MAS-DN800-2028 MAS-DN800-3028 MAS-DN800-4028
800 868 908 808 20 20 50 6 42 x M10 MAS-DN800-1029 MAS-DN800-2029 MAS-DN800-3029 MAS-DN800-4029
 
Technische Änderungen vorbehalten.
Bitte unbedingt beachten:
- Druckbereich max. - 0.15 bis 0.05 bar.
- nicht geeignet für den seitlichen Einbau unterhalb der Wasserlinie.
Bitte fragen Sie diese Ausführung separat an.



AUCH ANDERE FORMEN UND AUSFÜHRUNGEN SIND MÖGLICH


IN ALLEN MATERIALIEN PP,PE, PVC-U



Senden Sie uns einfach eine Anfrage.





BILDER AUS DER WERKSTATT



 
 
 





Ihre Wünsche, unsere Lösungen - Ein umfangreiches Lieferprogramm nach Maß.



Kunststoffrohrsysteme


Rohrsysteme aus Kunststoff im Überblick
Technische Informationen ABS Rohrsysteme
Technische Informationen PVC  U Rohrsysteme
Technische Informationen PVC  U Transparent Rohrsysteme
Technische Informationen PVC  C Rohrsysteme
Technische Informationen PP Rohrsysteme
Technische Informationen PP-R Rohrsysteme
Technische Informationen PE Rohrsysteme
Technische Informationen PVDF Rohrsysteme

Chemiedur


Technische Informationen UP-GF (GFK) Rohrsysteme
UP-GF (GFK) Rohre
UP-GF (GFK) Formteile und Verbindungen
UP-GF-PP (GFK) Formteile und Verbindungen
UP-GF (GFK) Klebebunde
UP-GF (GFK) Losflansche
PP/GFK Schmutzfänger DN 200 - DN 500
GFK/CSS  Schmutzfänger DN 200 - DN 500
PP/GFK  Schrägsitzschmutzfänger DN 200 - DN 400
GFK und PP/GFK Mannlochdeckel DN 500 - DN 800


Kunststoffrohre


Rohrzuschnitssrechner
Sägehinweise Kunststoffrohre
Kunststoffrohr - Restebörse
Normung - Kunststoffrohre und Formteile
PVC U Rohrabweichungen
Druckverlust PVCU, PVCC und ABS Rohrsysteme
Unterschied Rp, R und G Gewinde
Schraubenlängen für Flanschverbindungen
Dichtungen: PTFE, NBR, FKM, EPDM

Kunststoffarmaturen


PVC U Transparent Kugelhahn
Membranventile
Blockventile
Absperrklappen
Nadelventile aus Kunststoff



 

Kunststoffarmaturen nach ATEX


ATEX-Leitlinien allgemein
Neue EU Richtlinie 2014/34/EU
Kunststoffarmaturen in Ex-Zonen
Schmutzfänger PP-EL DN 15 - DN 50
Rückschlagventil PP-EL DN 15 - DN 50
Schrägsitzventil PP-EL DN 15 - DN 50

Kleben von Kunststoffrohren


Klebeanleitung
Klebeanleitung per Video

Kunststoffschweißen


Hinweise zum Extrusionsschweissen


Gitterroste / Tragroste


GFK Gitterroste
Gitterroste PP -el elektrisch Leitfähig
Profiltragroste PP -el elektrisch Leitfähig


Lüftungsformteile


Lüftungstechnik
Revisionsdeckel für Lüftungskanäle
Luftstromüberwachung


Chemieschlauch


PVC Transparentschlauch mit Textileinlage


Industrie- und Chemiebehälter


Dosierbehälter-Konfigurator
Dosierbehälter  und Überbehälter 35 – 1000 Liter
Salzlösebehälter 60 -5000 Liter
Lagerbehälter & Bottiche
Lagerbehälter für Wasser
Sicherheits- und Auffangwannen
Lieferprogramm Industriebehälter
Dosierbehälter mit Rührwerk
Rührwerk für Dosierbehälter
Dosierbehälter mit Anbauvarianten
Dosierbehälter aus Plattenmaterial
Chemiebehälter - Kundenlösungen
Dosierbehälter mit Füllstandsanzeigen
GFK Behälter für den schweren Chemieeinsatz



 

IBC TANK / CONTAINER


IBC Schraubdeckel DN 150/DN 200
IBC Adapter aus PE
IBC Adapter aus PP
MULTI FLEX BLOCK für IBC Bulk Container
Sauglanze für MULTI FLEX BLOCK und IBC Bulk Container
Heizhaube für IBC Bulk Container

Anwendungsbeispiele
MULTI FLEX BLOCK


Legionellen in Rückkühlwerken


Anbauteile für den Behälterbau


Säuredunstscheider
CO2 - Absorber
Fallbeispiel CO2 - Absorber
Mannlochdeckel
Revisionsstutzen
Blockflansche
Klöpperboden aus PP-CPK, PE-SK, PVDF-geätzt, PVC U und PVC-C


Filtergehäuse und Filterkerzen


PENTEK 3G Slime Line Gehäuse
PENTEK 3G Standard Filtergehäuse
PENTEK Big Blue Filtergehäuse
PENTEK PP Hochtemperatur Filtergehäuse
PENTEK PP Natur Filtergehäuse
PENTEK Filterbeutel für Big Blue Filtergehäuse
PENTEK Filtereinsätze für Oberflächenfiltration
PENTEK Filtereinsätze für Tiefenfiltration
PENTEK Filtereinsätze mit Aktivkohle
CINTROPUR Filtersysteme
CINTROPUR Wasserfilter
Enthärtungsanlage KAWK
Heizungswasser Umkehrosmose INDUWA


Flansch-Konfigurator


Blindflansch-Losflansch-Rechteckflansch

Chemische Beständigkeit


Beständigkeitsliste für Rohrsystemen aus Kunststoff

Kunststoffapparatebau


Tropfenabscheider aus PVC U, PP, PPs, PE und Verbundwerkstoffen

 

Kunststoff-Drehteile


Einlegteile
Einschraubteile
Gewindefittings
Verschraubungen

Kunststoff-Frästeile


Los- und Blindflansche aus Platten


Statische Mischer


Statische Mischer aus Kunststoff


Kompensatoren


Kompensatoren für Kunststoffrohrsysteme


Schmutzfänger


Einzel- und Doppelschmutzfänger
Topfschmutzfänger DN 300
Schrägsitzschmutzfänger DN 500


Durchflussmesser


Schwebekörperdurchflussmesser
Konfigurator für Durchflussmesser
Messwertgeber für Schwebekörperdurchflussmesser
Nebenstrom - Durchflussmesser


Filterpressen


Laborfilterpresse


Spritzgussteile


Schaber aus PE für Filterpressen


Kwerk Praxis Blog


Hier bloggt das Kwerk Team aus der Praxis


Westerwald - Spezial


Westerwälder Säurekitt


Kwerk GmbH International


Unsere Webseite in Englisch


Partnerschaft auf höchstem Niveau


 
         
 
 
 
       
 
 
         
 
VIDEO
ONLINE-TOOLS
ANGEBOT ANFORDERN
PROJEKT-ANFRAGE STARTEN